Sony has filed a patent for PSSR 2.0 that promises to fix FPS drops and resolution issues plaguing some PS5 Pro games. According to the filing with WIPO, the updated upscaling technology uses 'real-time quantization' to maintain stable performance without lowering native resolution. The update, developed in collaboration with AMD and incorporating FSR4 elements, is expected to arrive in the coming months.
What is PSSR 2.0 and how does it work?
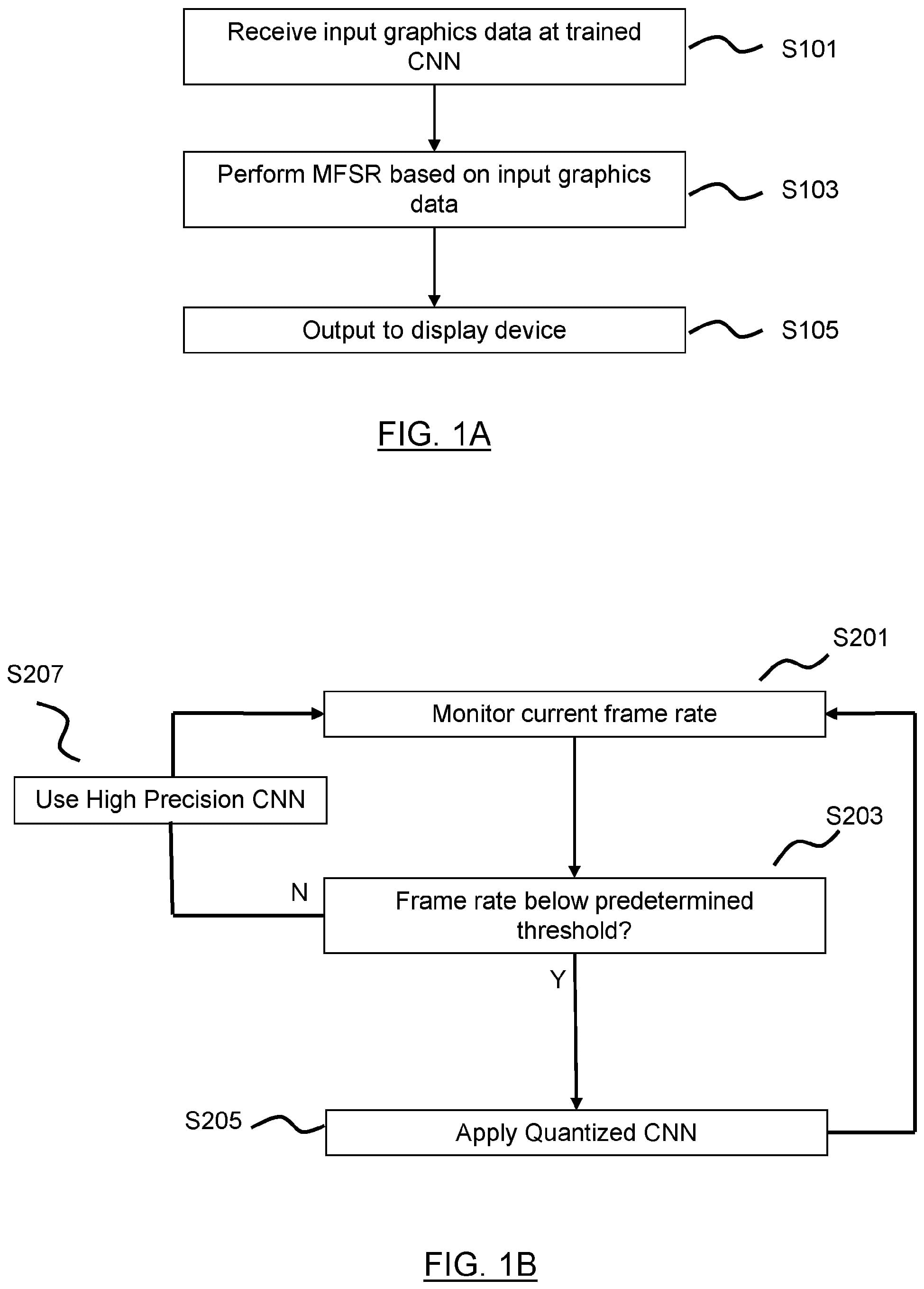
PSSR 2.0 introduces real-time quantization, a method that temporarily reduces the use of convolutional neural networks (CNN) when GPU load becomes too heavy. CNN systems help PSSR reconstruct and upscale image resolution, but they can cause performance bottlenecks during intensive scenes.
When frame rates start dropping, PSSR 2.0 will automatically scale back CNN usage to stabilise performance. This approach means developers won't need to lower a game's native resolution to maintain smooth gameplay — addressing one of the main complaints about the current PSSR implementation on PS5 Pro.
The patent describes this as a dynamic balancing act: maintain visual quality when possible, but prioritise frame rate stability when the system is under stress.

Why PS5 Pro needs this fix
Since the PS5 Pro launched in November 2024, PSSR has delivered mixed results across different games. Some titles showcase impressive visual improvements, while others suffer from visual glitches, unstable frame rates, and image quality issues that affect the overall gaming experience.
These performance inconsistencies have been particularly noticeable in fast-paced games where sudden GPU load spikes cause temporary frame rate drops. Currently, developers often compensate by reducing native resolution, which undermines the console's premium positioning.
Sony's collaboration with AMD on this solution suggests the company recognises these issues and is working to address them systematically rather than leaving fixes to individual game developers.
AMD FSR4 integration details
The patent reveals that PSSR 2.0 incorporates key elements from AMD's FSR4 technology, marking a significant technical collaboration between Sony and the chip maker. This integration suggests Sony is leveraging AMD's proven upscaling expertise to enhance its proprietary PSSR system.
Mark Cerny, Sony's system architect who led PS5 Pro development, is overseeing this collaboration. The partnership builds on AMD's experience with FSR technology, which has shown strong performance across multiple gaming platforms.
However, the patent doesn't specify exactly which FSR4 components are being integrated or how they'll interact with Sony's existing PSSR architecture.
Frequently Asked Questions
What is PSSR 2.0?
PSSR 2.0 is an upcoming update to the PlayStation 5 Pro's upscaling technology that introduces real-time quantization to fix FPS drops and resolution issues. It incorporates elements from AMD's FSR4 technology.
How does PSSR 2.0 fix FPS drops?
PSSR 2.0 uses real-time quantization to temporarily reduce convolutional neural network (CNN) usage during heavy GPU loads. This maintains frame rate stability without lowering the game's native resolution.
When will PSSR 2.0 be released?
PSSR 2.0 is expected to arrive in the coming months as part of the developer kit. Sony has not announced specific release dates for UAE or other regions.
Will PSSR 2.0 cost extra?
No, PSSR 2.0 will arrive as a free software update for existing PS5 Pro owners. No additional purchase is required.
Does this fix all PS5 Pro performance issues?
The patent specifically addresses FPS drops and resolution scaling issues. Real-world performance across different games won't be confirmed until the update is released and tested.
Subscribe to our newsletter to get the latest updates and news
Member discussion